Lifestyle > Teknoloji

Uçan arabaya 100 milyon dolar!

Uçan arabaya 100 milyon dolar!

10 Haziran 2016

Uçan arabaya 100 milyon dolar!

1 / 4

Uçan arabaya 100 milyon dolar!

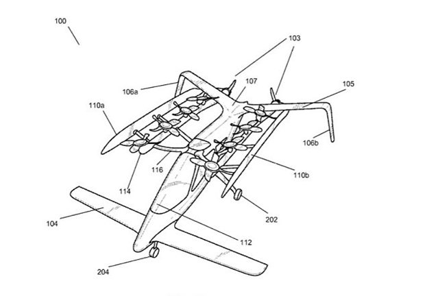
Google'ın kurucularından Larry Page, uçan araba geliştiren iki şirkete hatırı sayılır bir yatırım yaptı.
Uçan arabaya 100 milyon dolar!

2 / 4

Uçan arabaya 100 milyon dolar!

Bloomberg Businessweek'in şirkete yakın kaynaklara dayandırdığı haberine göre, milyarder işadamı 2 şirkete 100 milyon dolar (290 milyon TL) yatırım yaptı.
Uçan arabaya 100 milyon dolar!

3 / 4

Uçan arabaya 100 milyon dolar!

ABD, Kaliforniya merkezli Zee.Aero ve Kitty Hawk isimli iki şirket de elektrikli motora sahip, dikey iniş, kalkış yapabilecek araçlar üzerine çalışmalar yapıyor
Uçan arabaya 100 milyon dolar!

4 / 4

Uçan arabaya 100 milyon dolar!

Konuyla ilgili henüz bir resmi açıklama bulunmuyor. Milyarder işadamının bu yatırımın ardından şirketlerdeki ortaklık düzeyine dair bir bilgi de bulunmuyor.

Daha Fazlası

Bu Yaz İzlemeyi Sabırsızlıkla Beklediğimiz 23 Dizi

Saatlerden İlham Alan Hiper Otomobil Bugatti Tourbillon Tanıtıldı

2023 Esquire Oyun Ödülleri

The Game Awards 2023: Yılın En İyi Oyunları Açıklandı